
1-0 этап: Сосняк разнотравный (остепненный) - Serratulo-Pinetum. Под сенокосы использовались сосняки разного возраста - от недавних посадок до старых лесов.
На делянках с молодой сосной прокашивались междурядья, а на делянках с более зрелой сосной косился травяной покров между стволами. При ручном кошении ежегодно “сбривалась” поросль древесных растений, которая чрезвычайно редко выходит из яруса трав. В результате этого сформировались разреженные и светлые сосняки паркового типа с полным отсутствием подроста и подлеска: плотность древостоя небольшая - от 100 до 200 стволов на 1 га, а освещенность на уровне травяного покрова составляет 50-70% полной.
Сенокошение создавало не только высокую освещенность, необходимую для поддержания разнотравья, но и способствовало его семенному возобновлению. При сушке сено обычно сгребали в копны до вечерней росы, а после утренней - раструшивали снова. Поскольку подсыхающая трава неоднократно ворошилась, сенокосы равномерно “засеивались” семенами, которые попадали на обнаженную землю. Скот, выпасавшийся после сенокошения, вдавливал семена в почву, и это способствовало естественному возобновлению трав.

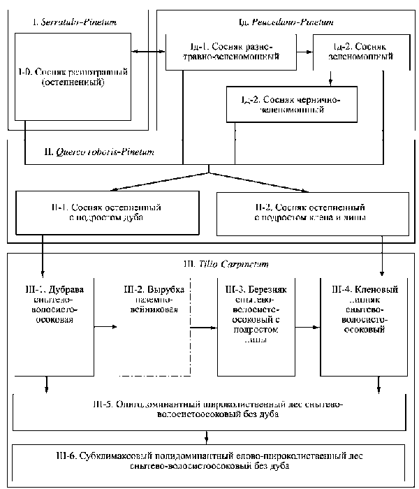
Направления преобразований остепненных сосняков (1-0) при пирогенной деградации (этап Iд) и при сменах их широколиственными и елово-широколиственными лесами (этапы II и III).
Стрелками показаны направления преобразования сообществ, римскими цифрами - этапы сукцессионных преобразований, арабскими цифрами - варианты сообществ, светлым курсивом - названия ассоциаций в соответствии с флористической классификацией. Буквой “д” обозначены пирогенные сообщества. Пунктиром обозначено сообщество, относящееся к другому синтаксону.