
Различия типов вывалов, наиболее существенные для развития почвенного покрова, связаны с различиями в характере отсыпки материала вывального бугра.
Наиболее детально элементы строения бугра ВПК и характерные для них особенности отсыпки материала описаны Е.В. Пономаренко (1999), это описание с некоторыми изменениями приведено ниже. На рисунке представлена схема строения провернутого и непровернутого вывалов, скорость и направление отсыпки различных элементов бугров которых неодинакова.

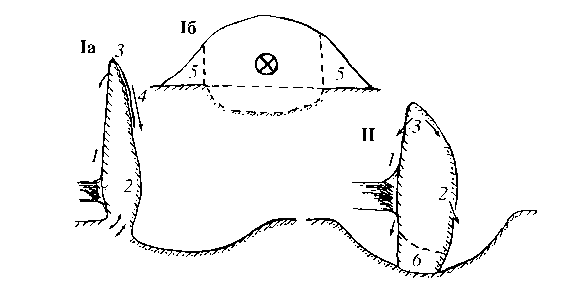
Типы ветровальных почвенных комплексов: 1а, 16 - непровернутый (в разных проекциях), II - провернутый. Элементы строения вывального бугра ВПК: 1 -дневная поверхность (передняя плоскость бугра), 2 - выпуклая (задняя) часть кома, 3 - гребень, 4 - бахрома корней и подстилки, 5 - “крылья”, 6 - якорная часть (по Пономаренко, 1999)
Передняя плоскость вывала (7) - переориентированная дневная поверхность, которой обычно соответствует слабосвязный материал (подстилка, кладки копролитов и др.), который обычно ссыпается вниз за 1-3 года.
Выпуклая часть кома (2). В большинстве случаев глубина отрыва почвы вывалом неравномерна - местам более глубокого отрыва соответствует выпуклая часть кома, которая отсыпается одновременно или крупными порциями в течение 1-2 лет. Выпуклые участки кома соответствуют «котлам», или «колодцам» западины.
Гребень вывала (3) - верхняя, нестабильная часть вывального кома, материал которой отсыпается частично вперед, как и материал передней плоскости вывала, а частично назад. Состав материала гребня определяет характер примесей в нижних частях соответствующих профилей отсыпки. У асимметричных и уплощенных вывалов верхняя часть гребня состоит из материала приповерхностных горизонтов. У симметричных вывалов первые же порции отсыпки с гребня включают материал более глубоких, чем в первом случае, слоев.
Корневая бахрома (4). При вывале часть приповерхностных корней вытягивается; в почве остаются округлые полые отверстия. Такие корни с фрагментами подстилки, иногда моховой дернины, кустарничками и др., прикрывают выпуклую часть кома, или свисают над ямой, если выпуклая часть отсутствует. Комки подстилки и гумусового горизонта часто отрываются с бахромы еще в процессе падения дерева или в момент удара о землю.
Крылья вывала (5) - крупные субгоризонтальные корни, расположенные перпендикулярно к направлению падения вывала - тоже отрывают залегающую на них почву. Обычно вывал разворачивается именно на этих корнях, тогда они расположены вплотную к передней плоскости вывала. Корнями перемещается приповерхностный материал - подстилка и верхний минеральный горизонт почвы. Этот материал частично отсыпается в момент удара дерева о землю, оставшаяся часть обычно ссыпается в первый год.
Якорная часть (6). У провернутых вывалов не вся оторванная и переориентированная масса материала отсыпается - некоторая его часть в основании вывального кома после стабилизации рельефа остается на том же месте, куда она была перемещена в результате вывала. Такой смещенный, переориентированный в неотсыпанном виде участок вывального кома Е.В. Пономаренко (1999) назван якорной частью. Обычно она сложена материалом, залегавшим на глубине 20 см и более. У разных типов вывалов соотношение между зонами отсыпки различно.