
Образование сквозного кишечника, вероятнее всего, произошло замыканием щелевидного археостома посередине с превращением переднего края в рот, а заднего — в анус [Шмальгаузен, 1947; Soderstrom, 1926; Siewing, 1980].
Возможно, это вообще единственный способ образования сквозного кишечника у всех животных [Малахов, 1977, 1980]. Замыкание щелевидного бластопора с образованием рта и ануса наблюдается в онтогенезе форонид. Но особенно часто и отчетливо этот процесс прослеживается в другом надтипе, у трохофорных животных. И это нельзя считать чисто эмбриональным феноменом. Как раз там, где в филогенезе должна была замыкаться середина первичного рта, у очень многих ископаемых животных докембрийского возраста имеется бороздка [Палий и др., 1979].
На месте замыкания бластопора у трохофорных животных образуется нейротрохоид. И примечательно, что нейротрохоид имеется на брюхе также у кишечнодышащих, погонофор и форонид. Замыкание первичного рта посередине действительно произошло после смещения его на брюхо. В онтогенезе это смещение не воспроизводится, но какие-то процессы, эквивалентные замыканию, происходят, и нейротрохоид возникает. Это заключение подтверждается следующим. По мнению В. Н. Беклемишева, при замыкании бластопора циркумбластопоральное сплетение становится продольным нервным тяжем. Если так, то нервный аппарат вторичноротых должен по своим концам обнаруживать связь как с передним, так и с задним концом пищеварительной трубки, и такая связь наблюдается.
У цефалохордовых имеется нервно-кишечный канал, а у личинок урохордат передний конец нервной трубки сообщается с глоткой. После преобразования первичного рта в рот и анус часть расположенных вокруг него щупалец становится ненужной. Щупальцы сохраняются лишь вблизи вторичного рта. Действительно, у современных Adtinotrochozoa щупальцы или их рудименты мы видим связанными с целомами 2 или 1 (у погонофор). Такая эволюция вполне допускает образование целомов из энтодермы щупалец и объясняет различия в свойствах передних и задних мезомеров.

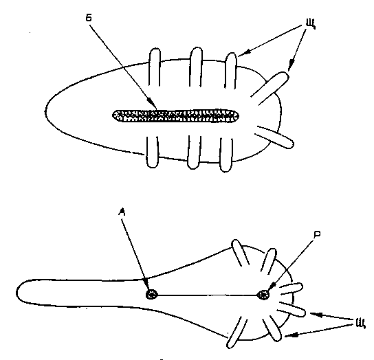
Замыкание щелевидного бластопора, вид с брюшной стороны.
В — бластопор, Р — рот, А — анус, Щ — щупальцы