Идиоадаптация, или алломорфоз

 

Идиоадаптация, или алломорфоз
 
Другим путем эволюции являются приспособления организмов к определенным условиям существования — адаптации в узком смысле, или идиоадаптации, посредством которых потомки животных из поколения в поколение приспосабливаются к разнообразным условиям жизни, причем сложность их организации и интенсивность жизнедеятельности в общем не повышаются.
 
Благодаря этому, несмотря на ряд изменений, животные остаются на прежнем уровне высоты организации. Так, многие млекопитающие, стоящие в общем на одинаковом уровне высоты организации, приспособились к различным способам передвижения. Несмотря на самую различную функцию и различную форму органов движения, передние конечности остались построенными по тому же типу, лишь изменилось соотношение частей, как в этом может убедиться читатель, разбирая скелет конечностей летучей мыши (летание), кита (плавание), медведя (хождение).
 
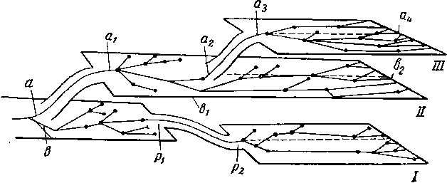
Схема путей биологического прогресса
 
Схема путей биологического прогресса (по А. Н. Северцову)
 
Указанные выше два типа приспособлений, ведущих к биологическому прогрессу, представлены на прилагаемой схеме. Ряд горизонтальных плоскостей представляет ступени высоты организации животных. Представим себе, что на некоторой стадии эволюционного процесса некое животное дало две новые формы а и b, из которых а отличается тем, что в ней развиваются признаки прогрессивного характера, благодаря чему происходит повышение организации, т. е. происходит ароморфоз; это повышение на схеме обозначено некоторым подъемом линии а—a1. Этот новый качественный скачок в организации приводит к биологическому прогрессу вида, численность его увеличивается, и ареал расширяется. При расселении условия существования меняются. Вслед за этим отдельные формы начинают приспосабливаться к различным условиям существования, с которыми им приходится сталкиваться благодаря расселению. При этом данная группа, попадая в различные условия, распадается на большее или меньшее число систематических подчиненных форм, что изображено разветвлениями по плоскости II. Эти разветвления в одной горизонтальной плоскости изображают приспособления (адаптации) второго типа, т. е. идиоадаптации. В дальнейшей эволюции одна из ветвей а1 может снова выработать новый подъем организации, новый ароморфоз а2—а3 и снова на новой ступени организации, в новой плоскости III дать новую сеть приспособительных изменений — идиоадаптаций — и снова распасться на ряд ветвей. Некоторые формы p1—p2 могут попадать в особые специфические условия существования, вызывающие понижение общего уровня их организации из-за дегенерации органов.