
Конечно, надо отдавать отчет в том, насколько приближённы подобные расчеты. В частности, соотношения между длиной и весом сильно варьируют у разных возрастных групп в зависимости от времени года, условий питания и т.д.
Анализ соотношений длины и веса половозрелых Eisenia nordenskioldi одного тундрового района показал, что каждому местообитанию в среднем свойственны специфические соотношения этих показателей. В связи с этим при проведении количественных учетов необходимо получать как можно больше побочных сведений о факторах, воздействующих на интересующий нас показатель. Это дает возможность вводить в расчеты некоторые поправки. Вместе с тем бесспорно и то, что в процессе синэкологических исследований невозможно получить прямым путем все количественные показатели.
Величины биомассы обычно используют как критерии потенциальной биогеоценотической роли отдельных групп животных, продукционно-энергетических отношений, соподчинения структурных морфологических категорий и т.д. Представляет также интерес соотношение размеров (веса) особей разных групп животных, входящих в состав тех или иных типов сообществ - так называемая размерная структура ценоза. В последнее время этому уделяется много внимания в гидробиологии.

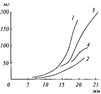
Зависимость веса тела от длины у некоторых групп крупных беспозвоночных: 1 - гусеницы совок, 2 - гусеницы пядениц, 3 - личинки комаров-долгоножек Tipula, 4 - личинки жуков-скакунов (Cicindela atrata); данные автора.

Соотношение между весом тела и размерами у двух видов жуков-листоедов (по: Долгин, Медведев, 1974): А - Chrysochloa basilea, Б - Chrysolina haemochlora.
Соотношение размера, веса и интенсивности дыхания коллембол
(по: Dunger, 1968)
|
Семейство |
Размерный класс |
Длина тела, мм |
Вес особи, мкг |
Потребление O2 (10 -3 мм3/час при 18 °С) |
|
Hypogastruridae |
I |
0,4 |
1,5 |
3 |
|
II |
0,75 |
10 |
62 |
|
|
III |
1,5 |
100 |
68 |
|
|
IV |
2,5 |
350 |
170 |
|
|
V |
4.5 |
2000 |
650 |
|
|
Onychiuridae |
I |
0,4 |
1 |
2 |
|
II |
0,75 |
8 |
10 |
|
|
III |
1,5 |
80 |
57 |
|
|
IV |
2,5 |
300 |
150 |
|
|
V |
4.5 |
1500 |
500 |
|
|
Isotomidae |
I |
0,4 |
1,5 |
3 |
|
II |
0,75 |
10 |
12 |
|
|
III |
1,5 |
80 |
57 |
|
|
IV |
2.5 |
300 |
150 |
|
|
Entomobryidae |
I |
0,4 |
1,5 |
3 |
|
II |
0,75 |
10 |
12 |
|
|
III |
1,5 |
100 |
68 |
|
|
IV |
2,5 |
350 |
170 |
|
|
V |
4.5 |
1500 |
500 |
|
|
Sminthuridae |
I |
0,4 |
5 |
7 |
|
II |
0,75 |
50 |
40 |
|
|
III |
1,5 |
500 |
230 |
|
|
IV |
2,5 |
1200 |
440 |
Основной показатель размерной структуры - «средний вес особи» или «средний абстрактный вес» - отношение общей биомассы группировки к численности. Выявляются некоторые интересные закономерности изменения этого показателя в зависимости от гидротермического режима и структуры сообщества. С.И. Ананьева (1971) отметила закономерное увеличение «среднего веса» коллембол по мере зарастания голых грунтов в тундре. П.П. Второв (1971) нашел, что на Тянь-Шане при движении от более холодных и влажных территорий к более сухим и теплым размеры почвенных животных (средний вес особи) возрастают.